Отверните накидные гайки рукавов высокого давления от труб гидроцилиндра. Закройте отверстия в цилиндре и рукавах для предотвращения попадания пыли.
Прикрепите цилиндр к подъемнику ( рис. 320 ). Масса гидроцилиндра 82 кг. Отверните три гайки крепления крышек и снимите пружинные шайбы.
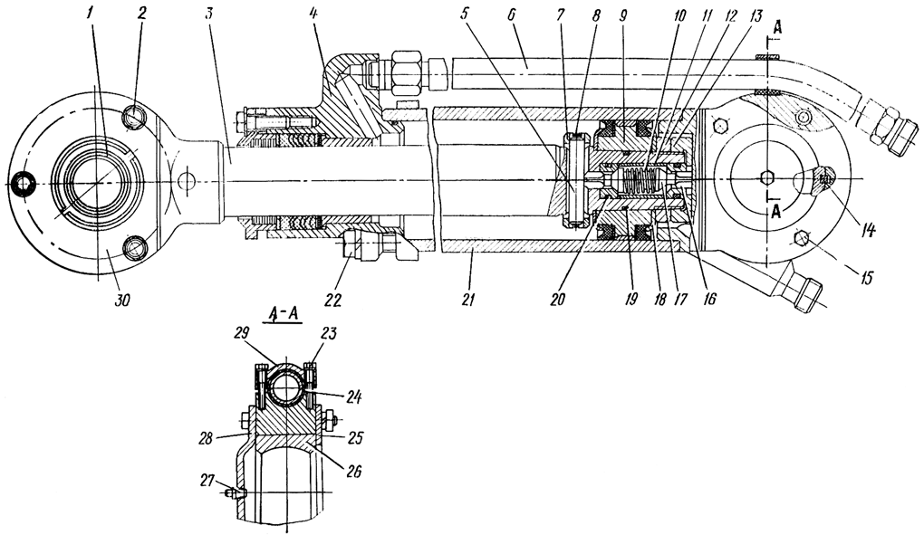
Снимите переднюю крышку 28 ( рис. 321 ) и выньте из отверстий крышек и цилиндра болты 15. Снимите цилиндр с цапфы, поддерживая два сухаря 26 и две шпонки 14, чтобы они не упали.
Отверните два болта 23 крепления бугеля к корпусу цилиндра, снимите бугель 29 и прокладку 24. Отверните накидную гайку трубы 6 и снимите трубу. Отверните болты.22 крепления крышки и выньте шток 3 с поршнем 9 из корпуса цилиндра вместе с крышкой 4 и деталями уплотнения. Сверните накидную гайку 13 и гайку 12 крепления поршня на штоке. Снимите со штока поршень 9. с деталями уплотнения.
Снимите с поршня 1 ( рис. 322 ) манжеты 3 и защитные кольца 2. Снимите со штока 3 ( см. рис. 321 ) резиновое кольцо 19. Отверткой снимите пружинное кольцо 8 из канавки втулки 7. Выньте из отверстия втулки и штока палец 5 и снимите со штока втулку. Выньте из расточки штока последовательно: втулку 16, клапан 17, пружину 10, проставку И, второй клапан. Выньте съемником вторую втулку. Снимите резиновые кольца 20 из канавок втулок 16.
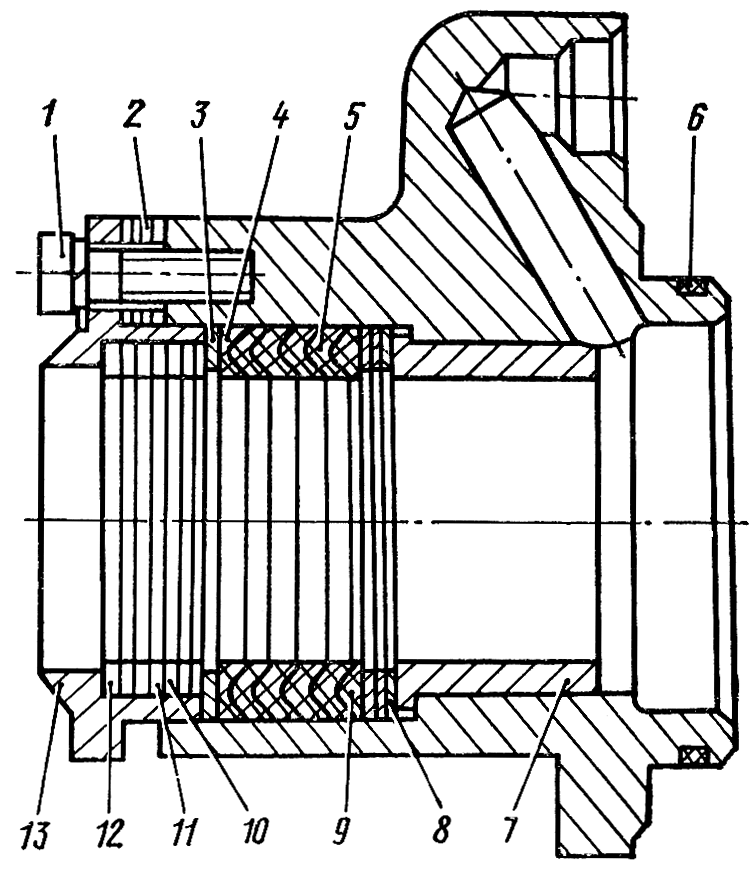
Снимите со штока крышку 4 со скребком и деталями уплотнения. Снимите из канавки резиновое кольцо 6 ( рис. 323 ). Отверните три болта 1 крепления скребка 13 и снимите скребок с прокладками 2 и чистиками 10,и 12. Снимите со скребка прокладки 2 и чистики. Извлеките из крышки последовательно: шайбу 3, нажимное кольцо 4, четыре манжеты 5, опорное кольцо 9, вторую шайбу и два пружинных кольца 8. Выпрессуйте из крышки втулку 7.
Отверните гайки 2 ( см. рис. 321 ) болтов крепления крышек 30 штока и снимите крышки. Выньте сухари со сферой 1 из отверстия цапфы штока и снимите шпонки.
Перед сборкой все детали промойте дизельным топливом и продуйте сухим сжатым воздухом. Перед сборкой трущиеся поверхности деталей и резиновые кольца смажьте тонким слоем моторного масла.
Запрессуйте втулку 7 ( см. рис. 323 ) в отверстие крышки до упора в бурт. Биение поверхности отверстия втулки относительно цилиндрической поверхности крышки должно, быть не более 0,05 мм.
Установите два пружинных кольца 8 в отверстие крышки до упора в торец втулки. Установите шайбу 3 до упора в торец пружинного кольца. Установите опорное кольцо 9 в отверстие крышки до упора плоской стороной в торец шайбы. Установите четыре манжеты 5 и нажимное кольцо 4 в отверстие крышки до упора в опорное кольцо. Установите вторую шайбу 3 до упора в нажимное кольцо.
Установите в расточку скребка 13 двенадцать чистиков 12 толщиной 1 мм, десять чистиков 11 толщиной 0,6 мм и восемь чистиков 10 толщиной 0,2 мм. Чистики 11 толщиной 0,2 мм и 10 толщиной 0,6 мм установите через один, начиная и кончая чистиком 11 толщиной 0,6 мм. Вставьте в отверстие крышки скребок с чистиками и установите между скребком и крышкой двенадцать прокладок 2. Совместите отверстия в скребке, прокладках и крышке, вставьте в них болты 1 с пружинными шайбами и заверните их на 2...3 оборота. Наденьте в канавку крышки резиновое кольцо 6 и смажьте его моторным маслом.
Наложите на сферу 1 ( см. рис. 321 ) два сухаря 26 и, совместив шпоночные пазы цапфы штока и сухарей, вставьте сферу с сухарями в цапфу. Установите две шпонки 14. Сухари устанавливайте с одинаковыми номерами цифровых клейм. Наложите крышку 30 и, совмещая отверстия крышки и цапфы, вставьте три болта с пружинными шайбами. Наденьте на болты вторую крышку и закрепите ее болтами с гайками 2 и пружинными шайбами. Наденьте на резьбовой конец штока 3 конусную оправку. Напрессуйте на шток собранную крышку 4 скребком к цапфе. Снимите конусную оправку. Наденьте на шток втулку 7. Совместите отверстия штока и втулки, вставьте в отверстие палец 5. Установите в канавку втулки пружинное кольцо 8. Наденьте на поршень 1 ( см. рис. 322 ) защитные кольца 2 до упора в торец. Установите на поршень две манжеты 3 до упора в защитные кольца. Наденьте на шток упор 18 ( см. рис. 321 ). Установите в канавку штока уплотнительное кольцо 19. Наденьте на шток поршень 9 с манжетами и установите второй упор 18. Закрепите поршень' на штоке гайкой 12. Момент затяжки гайки 1200...1500 Н-м (120...150 кгс-м).
Установите в канавку втулки 16 клапана уплотнительное кольцо 20 и установите втулку в отверстие штока до упора в торец. Вставьте в отверстие втулки клапан 17: Установите в отверстие штока проставку 11 до упора во втулку и пружину 10 на хвостовик клапана. Установите второй клапан хвостовиком в отверстие пружины. Наденьте на втулку второго клапана уплотнительное кольцо и вставьте втулку в отверстие штока. Наверните накидную гайку 13 на резьбовую поверхность штока. Разукомплектовка клапана с втулкой не допускается, так как эти детали притерты друг к другу.
Запрессуйте шток с поршнем в корпус 21 цилиндра, совместив цилиндрическую поверхность крышки с отверстием цилиндра. Поршень должен без заеданий проворачиваться и перемещаться на длине 800 мм. Совместите отверстия в корпусе с отверстиями в крышке 4 и закрепите крышку четырьмя болтами 2 с пружинными шайбами.
Наверните накидную гайку трубы 6 на ниппель корпуса. Поставьте прокладку 24 под трубу в радиусную выточку задней крышки. Наложите на трубу бугель 29 и закрепите его двумя болтами 23 с пружинными шайбами. Затяните болты 1 ( см. рис. 323 ).
Установите на цапфу гидробака крышку 25 ( см. рис. 321 ) и два сухаря 26. Соедините гидроцилиндр с подъемником ( см. рис. 320 )и подведите к трактору. Наденьте цилиндр на сухари и совместите шпоночные пазы в цилиндре и сухарях. Вставьте две шпонки 14 ( см. рис. 321 ). Установите на цилиндр крышку 28 и совместите отверстия в цилиндре и крышках. Закрепите крышки к цилиндру болтами 15 с гайками и пружинными шайбами. Вверните масленку Л7 в крышку 28. Наверните накидные гайки рукавов высокого давления на штуцеры труб гидроцилиндра. Проверьте трассу высокого давления на герметичность перемещением рукоятки распределителя не менее восьми раз в положения ПОДЪЕМ и ПРИНУДИТЕЛЬНОЕ ОПУСКАНИЕ.



