Запасные части ЧТЗ Запасные части ЧТЗ
Тында
Например:
Актобе
Алдан
или
Выбрать автоматически
Актобе
Алдан
Алматы
Алчевск
Архангельск
Астана
Астрахань
Атырау
Баку
Балашиха
Барнаул
Белгород
Бердянск
Бишкек
Владивосток
Владикавказ
Воркута
Воронеж
Горловка
Грозный
Донецк
Екатеринбург
Иваново
Ижевск
Иркутск
Казань
Калининград
Каменск-Уральский
Караганда
Каховка
Кемерово
Киров
Комсомольск-на-Амуре
Костанай
Краснодар
Красноярск
Красный луч
Ленск
Луганск
Магадан
Магнитогорск
Макеевка
Махачкала
Мелитополь
Минск
Мирный (Якутия)
Москва
Мурманск
Нерюнгри
Нижневартовск
Нижний Новгород
Нижний Тагил
Новая каховка
Новокузнецк
Новосибирск
Новый Уренгой
Норильск
Ноябрьск
Нур-Султан
Омск
Оренбург
Ош
Павлодар
Пермь
Петрозаводск
Петропавловск
Петропавловск-Камчатский
Псков
Ростов-на-Дону
Салехард
Самара
Санкт-Петербург
Саратов
Севастополь
Семей
Симферополь
Сочи
Ставрополь
Сургут
Сыктывкар
Тараз
Ташкент
Токмак
Томск
Тында
Тюмень
Ульяновск
Усинск
Усть-Каменогорск
Уфа
Хабаровск
Ханты-Мансийск
Херсон
Челябинск
Чита
Шымкент
Экибастуз
Энергодар
Южно-Сахалинск
Якутск
Ваш город
Тында
Войти
Запасные части к тракторам на одном сайте
+7 (932) 303-00-10
+7 (932) 303-00-10
г. Тында, ул. Советская, д. 57
Пн-Пт: 9:30-18:30 Cб-Вс: Выходной
Отправить заявку


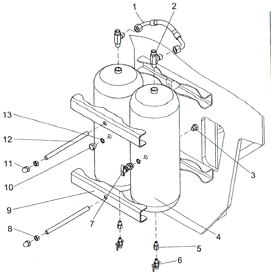
Установка ресиверов ПК46


/
с НДС 20%
Описание
ПК46.42.20.000 Установка ресиверов ПК46
Поз. Обозначение Наименование Кол. Масса
1 РИД 13.7,5.250.0,18.54-90754-90°.
М22×1,5/М22×1,5-У1 ТУ-3148-001-20871731-94
2 0,3
2 ПК46.42.00.030 Тройник 4 0,3
3 027.44.12.012 Пробка 4 0,02
4 Баллон воздушный в сборе 375-3513015 4 9,82
5 ПК46.42.00.008 Штуцер 4 0,06
6 Краник проходной 2201С28-Б ОСТ 37.001.240-81 4 0,02
7 Клапан контрольного вывода 1 GO-3515310 ОСТ 37.001.085-96 1 0,3
8 Гайка М16-6Н.8.019 (S24) ГОСТ 5915-70 4 0,037
9 ПК46.21.02.079 Постель 4 1,43
10 027.44.11.051 Пробка 3 0,05
11 ПК46.42.20.015 Гайка колпачковая 4 0,1
12 ПК46.42.20.014 Шпилька 4 0,39
13 027.34.13.041 Прокладка 4 0,002
Общий вес, кг 25,2
Установка ресиверов