Запасные части ЧТЗ Запасные части ЧТЗ
Тында
Например:
Актобе
Алдан
или
Выбрать автоматически
Актобе
Алдан
Алматы
Алчевск
Архангельск
Астана
Астрахань
Атырау
Баку
Балашиха
Барнаул
Белгород
Бердянск
Бишкек
Владивосток
Владикавказ
Воркута
Воронеж
Горловка
Грозный
Донецк
Екатеринбург
Иваново
Ижевск
Иркутск
Казань
Калининград
Каменск-Уральский
Караганда
Каховка
Кемерово
Киров
Комсомольск-на-Амуре
Костанай
Краснодар
Красноярск
Красный луч
Ленск
Луганск
Магадан
Магнитогорск
Макеевка
Махачкала
Мелитополь
Минск
Мирный (Якутия)
Москва
Мурманск
Нерюнгри
Нижневартовск
Нижний Новгород
Нижний Тагил
Новая каховка
Новокузнецк
Новосибирск
Новый Уренгой
Норильск
Ноябрьск
Нур-Султан
Омск
Оренбург
Ош
Павлодар
Пермь
Петрозаводск
Петропавловск
Петропавловск-Камчатский
Псков
Ростов-на-Дону
Салехард
Самара
Санкт-Петербург
Саратов
Севастополь
Семей
Симферополь
Сочи
Ставрополь
Сургут
Сыктывкар
Тараз
Ташкент
Токмак
Томск
Тында
Тюмень
Ульяновск
Усинск
Усть-Каменогорск
Уфа
Хабаровск
Ханты-Мансийск
Херсон
Челябинск
Чита
Шымкент
Экибастуз
Энергодар
Южно-Сахалинск
Якутск
Ваш город
Тында
Войти
Запасные части к тракторам на одном сайте
+7 (932) 303-00-10
+7 (932) 303-00-10
г. Тында, ул. Советская, д. 57
Пн-Пт: 9:30-18:30 Cб-Вс: Выходной
Отправить заявку


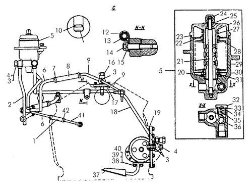
Система смазки трансмиссии (продолжение) на Т-170


/
с НДС 20%
Описание
Система смазки трансмиссии (продолжение) Т-170
Поз.НаименованиеАртикулКол-во в сборке
0Крышка в сборе50-60-225СП1
0Труба20-60-120СП1
0Труба50-60-203СП1
1Рукав700-40-34812
2Труба24-60-147СП1
3Кольцо 4091012
4Болт полый700-41-33065
5Фильтр50-60-214СП1
6Труба50-60-202СП1
7Хомут700-41-2228СП6
8Рукав700-46-2185-012
9Труба50-60-204СП1
10Кольцо 014-018-25-2-21
11Фланец50-60-2181
12Хомут700-41-30221
13Муфта422125
14БолтМ16Х75.58.0191
15Шайба 16ОТ65Г091
16Гайка накидная700-41-3017-11
17Прокладка700-40-67691
18Труба20-60-121СП1
19Прокладка700-40-3788-11
20Кольцо СП-60-40-7464851
21Шпилька700-29-20861
22Шайба700-31-20421
23Прокладка 700-40-53791
24Гайка глухая16-27-51
25Кольцо 409111
26Крышка24-60-291
27Пружина700-38-21121
28Фильтрующий элемент 18-26-161СП17
29Корпус50-60-2641
30Кольцо28-60-11-11
31Кольцо упорное700-42-23202
32Штуцер700-41-28531
33Кольцо24Х301
34Шайба313121
35Пружина700-38-22981
36ШарикБ22,225Х2001
37Маслоприемник 50-60-201СП1
38БолтМ8Х20.58.0192
39Шайба8Т65Г092
40Прокладка 407511
41Труба24-60-150СП1
42Хомут700-41-2235-37СП4
Система смазки трансмиссии (продолжение)